Microsoft dépose un brevet pour faire de notre corps... un réseau
Microsoft vient de se voir accorder un brevet décrivant un appareillage transmettant des données via de faibles impulsions électriques au travers du corps humain. De quoi échanger des données informatiques lors d’une simple poignée de main, de sécuriser des paiements ou encore de s’identifier pour accéder à certains bâtiments.
Devant cette illustration très schématique, il faut imaginer deux personnes se serrant la main. Toutes deux sont dotées d’un appareil permettant de transmettre et de recevoir des données en les faisant transiter par la peau. Ce système pourrait être utilisé pour sécuriser les paiements ou accéder à certaines zones sensibles. © Microsoft
L’Office des brevets et des marques des États-Unis (USPTO) vient d’accorder un brevet surprenant à Microsoft. Déposé en décembre 2011, ce brevet intitulé Biological Entity Communication Channel décrit un système pouvant utiliser le corps humain pour faire transiter des données. Ce procédé permettrait de transmettre une carte de visite numérique d’une poignée de main à une autre personne, de sécuriser un paiement en touchant du bout du doigt un terminal, ou encore d’accéder à un bâtiment sécurisé. Pour transmettre les données, la personne doit porter un petit appareil que Microsoft décrit de façon très partielle et vague.
Il est composé de trois éléments : une surface faisant office de masse, une couche d’isolant, et une autre conductrice reliée à un module de communication permettant de faire transiter les données via le corps humain.

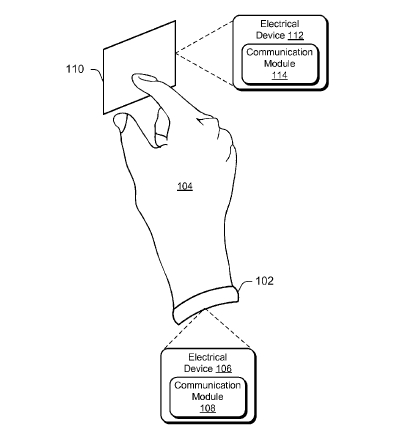
Sur ce schéma tiré du brevet accordé par l’office des brevets et marques des États-Unis à Microsoft, un individu porte un petit équipement indéfini. Il peut s'agir d'un bracelet par exemple. Il intègre un système permettant de transmettre les données provenant d’un module de communication, par de petites impulsions électriques de l’ordre du pico-ampère. Elles sont reçues par un récepteur-émetteur équivalent que la personne va toucher. © Microsoft
Le réseau, c’est nous !
Utiliser le corps humain pour transmettre des données n’est toutefois pas une invention de Microsoft. Les premières théories sur le sujet datent de 1997 et ont été menées par le MIT. De nombreux travaux sur ce système baptisé « modem humain », ou « réseau du corps humain » ont été réalisés depuis. Au CES 2012 de Las Vegas, le patron d’Ericsson avait même réalisé une démonstration durant laquelle il avait transmis une photo provenant de son téléphone pour l’afficher sur une TV, sans aucune autre liaison que celle de son propre corps.
Le géant des télécom japonais NTT, son concurrent KDDI ou encore son équivalent coréen ETRI travaillent beaucoup sur le sujet. Ainsi, NTT serait parvenu à transmettre des données via le corps humain à un débit de 10 Mbits/s. Selon les chercheurs, il serait même possible d’atteindre les 17 Mbits/s. Le laboratoire a aussi réalisé des études sur l'éventuelle nocivité d'un tel système. Le courant passant au travers le corps ne serait que de quelques pico-ampères. En l'état actuel des recherches, il n’y aurait aucun effet sur le corps humain.
Une connexion sécurisée selon Microsoft
Reste la sécurisation des données en transit. Imaginez qu'un capteur placé à proximité de la peau puisse les intercepter. À cette éventualité, Microsoft réplique que tout dépend de la fréquence du signal employée. Ainsi, en prenant l’exemple d’une fréquence de 400 MHz, le signal n’est pas détectable à une distance supérieure à 8 mm. C’est ce système qui pourrait s’assurer de la sécurisation des transmissions de données. Dans d’autres cas, il est possible de faire passer la fréquence à 1,5 GHz afin d’assurer une transmission sans contact, et de s’identifier pour ouvrir la porte d’un accès sécurisé sans avoir besoin de toucher quoi que ce soit. Pratique lorsque l’on a les bras encombrés.
Si, avec ce brevet, Microsoft a pensé à la sécurisation des données et aux applications pratiques d'un tel dispositif, il reste vraiment vague sur l'appareillage. Et on ne peut pas compter sur les schémas disponibles pour savoir concrètement ce que Microsoft compte faire de ce brevet, sinon peut-être... s'armer de patience.
Source : futura-sciences.com